Product outline
URM-1KN released!
Small, accurate & wide lineup of S-type load cell
Accuracy 3/10000 (Non-linearity, Hysteresis, Repeatability)
Specifications
| Model | URM -50N |
URM -100N |
URM -200N |
URM -500N |
URM-1KN |
|---|---|---|---|---|---|
| Rated capacity | 50 N | 100 N | 200 N | 500 N | 1 kN |
| Rated output | Approx. 1 mV/V | ||||
| Safe overload | 200% R.C. | ||||
| Zero balance | ±10 mV/V | ||||
| Non-linearity | 0.03% or less R.O. | 0.05% or less R.O. |
|||
| Hysteresis | 0.03% or less R.O. | 0.05% or less R.O. |
|||
| Repeatability | 0.03% or less R.O. | 0.05% or less R.O. |
|||
| Compensated temperature range |
-10 to +60℃ | ||||
| Safe temperature range |
-20 to +70℃ | ||||
| Temperature effect on zero |
0.5% R.O./10℃ or below | ||||
| Temperature effect on span |
0.5% R.O./10℃ or below | ||||
| Input resistance | Approx. 350 Ω | ||||
| Output resistance | Approx. 350 Ω | ||||
| Recommended excitation voltage |
2.5 V | ||||
| Maximum excitation voltage |
5 V | ||||
| Insulation resistance |
1000 MΩ or more | ||||
| Cable | φ2 4-conductor flexible cable (1 m) Cable end: 5 wires |
||||
| Cable color code | +EXC: Red +SIG: Green -EXC: Black -SIG: White SHIELD: Yellow |
||||
| Load cell material | Aluminum alloy | Stainless steel |
|||
| Deflection at rated |
0.02 mm | 0.04 mm | 0.03 mm | 0.05 mm | 0.07 mm |
| Natural frequency |
3.3 kHz | 3.5 kHz | 3.5 kHz | 4.8 kHz | 4.4 kHz |
| Weight | 6 g | 10 g | |||
| RoHS directives | 2011/65/EU (EU)2015/863 | ||||
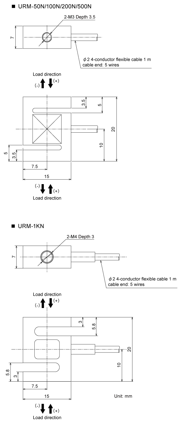
External dimension

Optional accessories
A load button which helps measuring compression force.

Download
|
Product catalogue(PDF)
|
⇒Download Page | |
|---|---|---|
|
Operation manual(PDF)
|
||
|
External dimension
|
DXF
(ZIP) |
|
|
PDF
|
||
|
Support tools
|
||
|
Software
|
||


